一、瓷介电容器(CC)

1.结构
用陶瓷材料作介质,在陶瓷表面涂覆一层金属(银)薄膜,再经高温烧结后作为电极而成。瓷介电容器又分 1 类电介质(NPO、CCG);2 类电介质(X7R、2X1)和 3 类电介质(Y5V、2F4)瓷介电容器。
2.特点
1类瓷介电容器具有温度系数小、稳定性高、损耗低、耐压高等优点。最大容量不超过1 000 pF,常用的有CC1、 CC2 、CC18A、CC11、CCG等系列。2、3类瓷介电容器其特点是材料的介电系数高,容量大(最大可达0.47 μF)、体积小 、 损耗和绝缘性能较1类的差。
3.用途
1类电容主要应用于高频电路中。2、3类广泛应用于中、低频电路中作隔直、耦合、旁路和滤波等电容器使用。常用的有CT1、CT2、CT3等三种系列。
二、涤纶电容器(CL)

1.结构
涤纶电容器,是用有极性聚脂薄膜为介质制成的具有正温度系数(即温度升高时,电容量变大)的无极性电容。
2.优点
耐高温、耐高压、耐潮湿、价格低。
3.用途
一般应用于中、低频电路中。常用的型号有CL11、CL21等系列。
三、聚苯乙烯电容器(CB)

1.结构
有箔式和金属化式两种类型。
2.优点
箔式绝缘电阻大,介质损耗小,容量稳定,精度高,但体积大,耐热性较差;金属化式防潮性和稳定性较箔式好,且击穿后能自愈,但绝缘电阻偏低,高频特性差。
3.用途
一般应用于中、高频电路中。常用的型号有CB10、CB11(非密封箔式)、CB14~16(精密型)、CB24、CB25(非密封型金属化)、CB80(高压型)、 CB40 (密封型金属化)等系列。
四、聚丙烯电容器(CBB)

1.结构
用无极性聚丙烯薄膜为介质制成的一种负温度系数无极性电容。有非密封式(常用有色树脂漆封装)和密封式(用金属或塑料外壳封装)两种类型。
2.优点
损耗小,性能稳定,绝缘性好,容量大。
3.用途
一般应用于中、低频电子电路或作为电动机的启动电容。常用的箔式聚丙烯电容:CBB10、CBB11、CBB60、 CBB61 等;金属化式聚丙烯电容:CBB20、CBB21、CBB401 等系列。
五、独石电容器

1.结构
独石电容器是用钛酸钡为主的陶瓷材料烧结制成的多层叠片状超小型电容器。
2.优点
它具有性能可靠、耐高温、耐潮湿、容量大(容量范围1 pF ~ 1 μF)、漏电流小等优点。3.缺点
工作电压低(耐压低于100 V)。
4.用途
广泛应用于谐振、旁路、耦合、滤波等。 常用的有CT4 (低频) 、CT42(低频);CC4(高频)、CC42(高频)等系列。
六、云母电容器(CY)

1.结构
云母电容器是采用云母作为介质,在云母表面喷一层金属膜(银)作为电极,按需要的容量叠片后经浸渍压塑在胶木壳(或陶瓷、塑料外壳)内构成。
2.优点
稳定性好、分布电感小、精度高、损耗小、绝缘电阻大、温度特性及频率特性好、工作电压高(50 V~7 kV)等优点 。
3.用途
一般在高频电路中作信号耦合、旁路、调谐等使用。常用的有CY、CYZ、CYRX等系列。
七、纸介电容器(CZ)

1.结构
纸介电容器是用较薄的电容器专用纸作为介质,用铝箔或铅箔作为电极,经卷绕成型、浸渍后封装而成。
2.优点
电容量大(100 pF~100 μF)工作电压范围宽,最高耐压值可达6.3 kV。
3.用途
体积大、容量精度低、损耗大、稳定性较差。常见有CZ11、CZ30、CZ31、CZ32、CZ40、CZ80等系列。
八、金属化纸介电容器(CJ)

1.结构
金属化纸介电容器采用真空蒸发技术,在涂有漆膜的纸上再蒸镀一层金属膜作为电极而成。
2.优点
与普通纸介电容相比,体积小,容量大,击穿后能自愈能力强。
九、铝电解电容器(CD)结构

有极性铝电解电容器是将附有氧化膜的铝箔(正极)和浸有电解液的衬垫纸,与阴极(负极)箔叠片一起卷绕而成。外型封装有管式、立式。并在铝壳外有蓝色或黑色塑料套。
1.优点
容量范围大,一般为1~10 000 μF,额定工作电压范围为6.3 V~450 V。
2.缺点
介质损耗、容量误差大(最大允许偏差+100%、–20%)耐高温性较差,存放时间长容易失效。
3.用途
通常在直流电源电路或中、低频电路中起滤波、退耦、信号耦合及时间常数设定、隔直流等作用。注意:不能用 于交流电源电路。在直流电源中作滤波电容使用时极性不能接反。
十、钽电解电容器(CA)

1.结构
有两种形式:1. 箔式钽电解电容器 内部采用卷绕芯子,负极为液体电解质,介质为氧化钽。型号有 CA30、CA31、CA35、CAk35等系列。2. 钽粉烧结式 阳极(正极)用颗粒很细的钽粉压块后烧结而成。封装形式有多种。型号有CA40 、CA41、CA42、CA42H、CA49、CA70(无极性)等系列。
2.优点
介质损耗小、频率特性好、耐高温、漏电流小。
3.缺点
生产成本高、耐压低。
4.用途
广泛应用于通信、航天、军工及家用电器上各种中 、低频电路和时间常数设置电路中。
十一、云母微调电容器(CY)

1.结构
云母微调电容器由定片和动片构成,定片为固定金属片,其表面贴有一层云母薄片作为介质,动片为具有弹性的铜片或铝片,通过调节动片上的螺钉调节动片与定片之间的距离,来改变电容量。 云母微调电容器有单微调和双微调之分。
2.优点
电容量均可以反复调节。
3.用途
应用于晶体管收音机、电子仪器、电子设备中。
十二、瓷介微调电容器(CC)

1.结构
瓷介微调电容器是用陶瓷作为介质。在动片(瓷片)与定片(瓷片)上均镀有半圆形的银层,通过旋转动片改变两银片之间的相对位置,即可改变电容量的大小。
2.优点
体积小,可反复调节,使用方便。
3.用途
应用于晶体管收音机、电子仪器、电子设备中。
十三、薄膜微调电容器结构

薄膜微调电容器是用有机塑料薄膜作为介质,即在动片与定片(动、定片均为半圆形金属片)之间加上有机塑料薄膜,调节动片上的螺钉,使动片旋转,即可改变容量。 薄膜微调电容器一般分为双微调和四微调。有的密封双连或密封四连可变电容器上自带薄膜微调电容器,将微调电容器安装在外壳顶部,使用和调整就更方便了。
1.优点
体积小,重量轻,可反复调节,使用方便。
2.用途
应用于晶体管收音机、电子仪器、电子设备中。
十四、空气可变电容器(CB)

1.结构
电极由两组金属片组成。一组为定片,一组为动片,动片与定片之间以空气作为介质。当转动动片使之全部旋进定片时,其电容量最大,反之,将动片全部旋出定片时,电容量最小。空气可变电容器有单连和双连之分(见外型图)。
2.优点
调节方便、性能稳定、不易磨损。
3.缺点
体积大。
4.用途
应用于收音机、电子仪器、高频信号发生器、通信电子设备。
十五、薄膜可变电容器

1.结构
薄膜可变电容器是在其动片与定片之间加上塑料薄膜作为介质,外壳为透明或半透明塑料封装,因此也称密封单连或密封双连和密封四连可变电容器。
2.优点
体积小、重量轻。
3.缺点
杂声大、易磨损。
4.用途
单连主要用在简易收音机或电子仪器中;双连用在晶体管收音机和电子仪器、电子设备中;四连常用在AF/FM多波段收音机。
十六、聚丙乙烯电容(CBB)

1.结构
CBB电容以金属化聚丙烯膜串联结构型式,能抗高电压、大电流冲击,具有损耗小,电性能优良,可靠性高和自愈性能。
2.优点
介电常数较高,体积小,容量大,稳定性比较好,能抗高电压、大电流冲击,具有损耗小,电性能优良,可靠性高和自愈性能。
3.缺点
温度系数大。
4、用途
代替大部分聚苯或云母电容,用于要求较高的电路
十七、安规电容

1.结构
安规电容的组成一般是由介质、电极、外壳、封装、引脚五个部分组成的。其介质一般是由聚丙烯膜组成;电极是由金属真空蒸发层组成; 外壳一般是以阻燃PBT塑壳(UL94V-0)为主; 封装一般是由阻燃环氧树脂(UL94V-0)组成;而引脚是以镀锡铜包钢线而组成。
2.优点
失效后,不会导致电击,不危及人身安全。
3.用途
x电容是跨接在电力线两线(L-N)之间的电容,用于抑制差模干扰,一般选用金属薄膜电容。Y电容是分别跨接在电力线两线和地之间(L-E,N-E)的电容,一般是成对出现,抑制共模干扰,用于电源市电输入端即电容器失效后,不会导致电击,不危及人身安全。
十八、真空电容

1、结构
以真空作为介质的电容器,采用高导无氧铜带通过一整套高精度模具一道道引伸而形成的一组同心圆柱形电极被密封在一个真空容器中。
2、优点
真空电容器与其他介质的电容器相比,具有耐压高、体积小、损耗低、性能稳定可靠等特点,不容易产生飞弧、电晕等现象。
3、用途
1)广播通讯设备:真空电容器在中波、短波、超短波发射机上,作为调谐、耦合、滤波、中和、隔直流等元件。
2)半导体制造设备:用于等离子体的沉积和刻蚀设备。
3)高频工业设备:用于高频介质加热和焊接等。
4)医疗器械:医疗分析仪及治疗仪等。
5)高能物理:高能粒子加速器等。
6)电力设备:用于介质损耗测试设备。
十九、多圈微调电容

1、结构
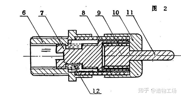
一种使用在UHF、VHF领域的密封型多圈瓷介微调电容器,在调节电容量时,轴子在轴向移动时不外露出体外,且能阻隔外界空气和污染源进入内部,能适合各种不同使用空间要求,它是由结头(6)和附有密封带(12)的转子(7)螺纹电连接外瓷环(8)一端和结头(6)固接,另一端和底座(10)固接,引出线(11)一端和内瓷环(9)同心固接后与底座(10)紧配固接。用起子转动转子在瓷环间和结头内轴向移动,密封带在结头内螺纹滑动从而隔断外节污染源进入内部。
二十、穿心电容

1、结构
穿心电容是一种三端电容,但与普通的三端电容相比,由于它直接安装在金属面板上,因此它的接地电感更小,几乎没有引线电感的影响,另外,它的输入输出端被金属板隔离,消除了高频耦合,这两个特点决定了穿心电容具有接近理想电容的滤波效果。
2、优点
自电感较普通电容小得多,故而自谐振频率很高
3、用途
用于射频抗干扰滤波器。把流经机壳或设备某点的低频电流或射频电流(它可能引起干扰)通过尽可能短的通路接地。典型的应用有:旋转式装置;点火装置;机电调压器、震动器、开关;电子装置(发射机、雷达调制器、闸流管等)及设备交流滤波。
– END –
更多技术干货和硬件资讯,可关注公众号造物工场(EEIDM_)
关于造物工场
造物工场立足金百泽超过20年柔性电子制造服务优势,聚焦产品方案和电子工程的设计服务,提供从创意到制造、PCB/PCBA/BOM/元器件等一站式硬件服务。
免责声明:文章内容来自互联网,本站仅作为分享,不对其真实性负责,如有侵权等情况,请与本站联系删除。
转载请注明出处:二十种电容分类详解! https://www.zentong.com/zt/8775.html